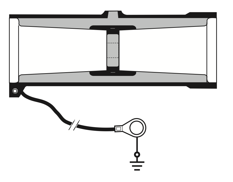
400BE/G BUSHING EXTENDER
Provides an extension piece to allow cables to stand away from equipment.
Is used in conjunction with the 400CP, 440CP or 440PB. The bushing extender is supplied with an earth lead.
ORDERING INSTRUCTIONS
Order 400BE/G for 12 kV, K400BE/G for 24 kV, M400BE/G for 36 kV or P400BE/G for 42 kV applications.
